Представляю эл.схемы на семейный седан Hyundai Elantra 2000-2004 г.в. Elantra третьего поколения выпускалась исключительно с приводом на передние колеса. Все силовые агрегаты четырехцилиндровые. Базовый 1,6-литровый мотор мощностью 107 л. с. восторгов не вызовет, но тянет приемлемо. Промежуточный 1,8-литровый двигатель развивает уже 132 л. с. Топовый двухлитровый агрегат ненамного мощнее своего ближайшего предшественника (143 л. с.). В сочетании с механической коробкой он обеспечивает динамику почти как некоторые бизнес-седаны с более мощными моторами.
Эл.схема системы запуска на Хендай Элантра
Схема системы зажигания двигателей 1,6 л
Схема системы зажигания двигателей 1,8 и 2,0 л на
Hyundai Elantra
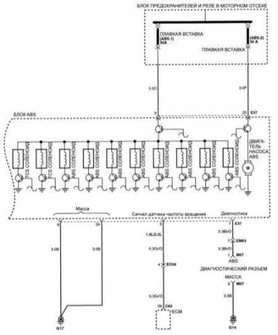
Антиблокировочная тормозная система — схема
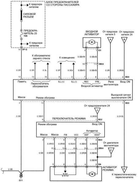
Эле.схема вентилятора и управления системой кондиционирования воздуха










